帳票一覧で確認・検索する
帳票一覧での各操作方法をご説明します。
目次
1.帳票一覧を確認する
2.帳票一覧で絞り込み検索をする
1.帳票一覧を確認する
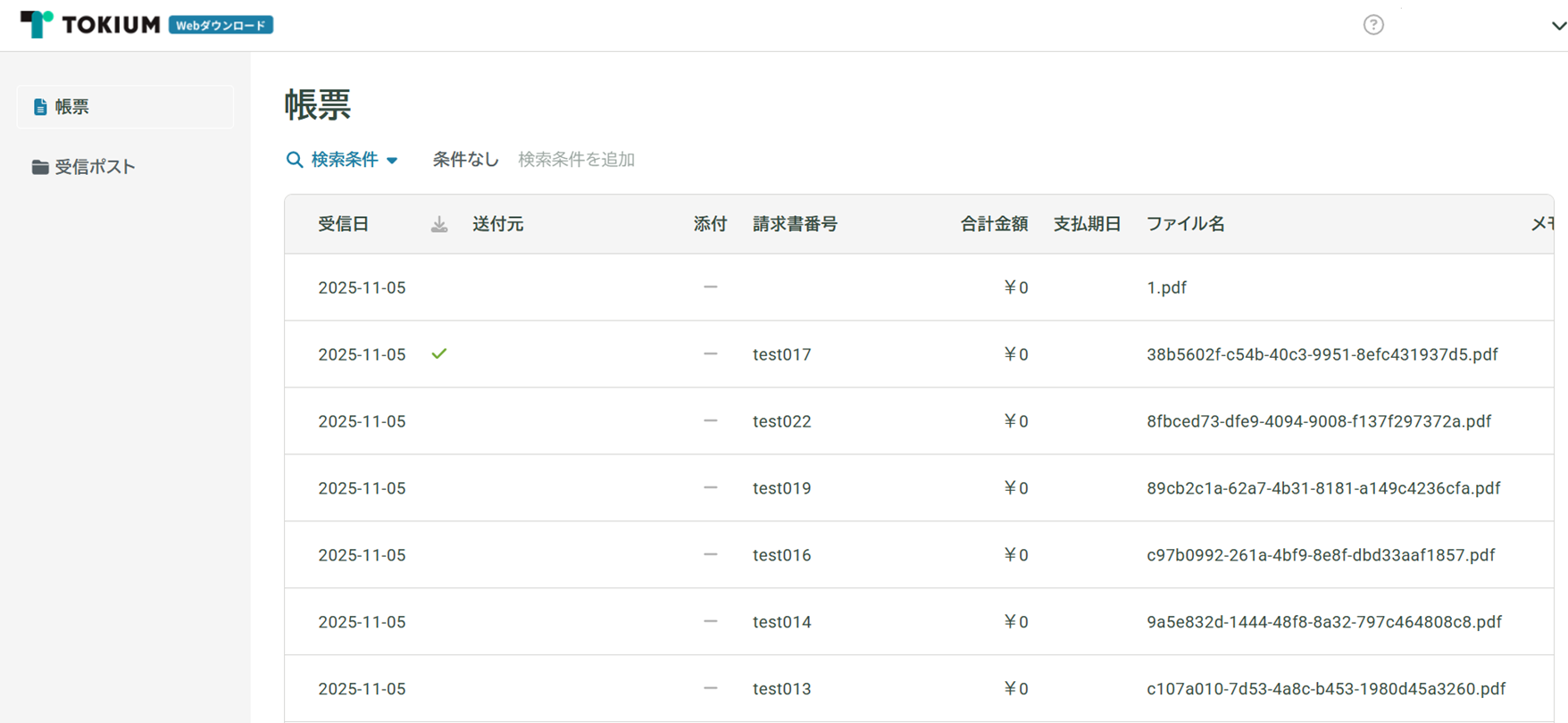
ログインすると、送付された帳票の一覧が表示され、各帳票の内容を確認できます。

- 受信日
…帳票の受信日が表示されます。 - ダウンロード状況
…ダウンロード状況が表示されます。
未ダウンロード 空欄で表示されます ダウンロード済み 「✅」のアイコンが表示されます。アイコンにマウスをあわせると、ダウンロードしたユーザー名、メールアドレス、ダウンロード日時が表示されます。
- 送付元
…帳票の送付元が表示されます。 - 添付
…帳票に添付されているファイルの件数が表示されます。 - 請求書番号
…請求書番号が表示されます。 - 取引金額
…帳票の取引金額が表示されます。 - ファイル名
…帳票のファイル名が表示されます。 - メモ
…帳票情報に関する任意のメモを入力できます。
2.帳票一覧で絞り込み検索をする
①[検索条件]をクリックします。

②条件を入力し、検索画面下の[この条件で検索]をクリックすると、条件に該当する帳票が表示されます。

検索条件による絞り込みを解除したい場合は[リセット]をクリックします。

帳票の検索項目
| 送付元 | 送付元名を検索できます。 |
| 請求書番号 | 帳票に設定がされている請求書番号で部分一致で検索できます。 |
| ダウンロード状況 | 未ダウンロードのみに✅することで、未ダウンロードの帳票を検索できます。 |
| 合計金額 | 帳票の合計金額を検索できます。 |
| 請求日 | 帳票の請求日を検索できます。 |
| 支払期日 | 請求日の支払期日を検索できます。 |
| 受信日 | 帳票の受信日を検索きます。 |
| メモ | 帳票に設定されているメモ欄の文字列で、部分一致検索ができます。 |